產品中心
PRODUCT智慧農業 智造未來
- 農業氣象站
- 農業四情監測系統
- 蟲情測報燈
- 太陽能殺蟲燈
- 孢子捕捉儀
- 智慧農業氣象站
- 管式土壤墑情站
- 探針式土壤墑情監測站
- 土壤檢測儀
- 苗情監測站
- 智能吸蟲塔
- 性誘測報燈
- 鼠害監測設備
- 水肥一體機
- 害蟲監測預警設備
- 植物病害監測設備
- 生物鑒定儀
- 農業傳感器
- 植物生長監測儀
- 智能蜂箱
- 草原氣象站
- 農業設備
- 水果糖度檢測儀
- 高空測報燈
推薦文章
聯系我們
山東萬象環境科技有限公司
聯系人:趙經理
服務熱線:13645368788
客服QQ:841106043
客服微信:13645368788
公司地址:山東省濰坊高新區新城街道玉清社區光電路155號濰坊高新區光電產業加速器(一期)1號樓301

一、農業環境監測系統產品簡介
農業環境監測系統又稱農業環境監測站,農業自動氣象站,農業環境監測系統是萬象環境研制的一種固定式的地面自動觀測設備,可實時監測溫度、氣壓、濕度,風速風向降雨量等氣象要素,主要用于氣象站或者常年氣象條件科學考察。
WX-NQ10小型自動氣象站(具備省級CMA證書)是一款多功能于一體、低功耗、可快速安裝、便于野外監測使用的高精度氣象觀測設備。
該設備由氣象傳感器,采集器,太陽能供電系統,立桿支架,云平臺五部分組成。免調試,可快速布置,廣泛運用于氣象、農業、林業、環保、海洋、機場、港口、科學考察、校園教育等領域。
二、產品特點
1、低功耗采集器:靜態功耗小于50uA
2、標配GPRS聯網、支持擴展藍牙、有線傳輸
3、7寸安卓觸屏,版本:4.4.2、四核Cortex?-A7,512M/4G
4、支持modbus485傳感器擴展
5、太陽能充電管理MPPT自動功率點跟蹤
6、三米碳鋼支架,兩節法蘭盤對接
7、可短信報警,超限后向指定的手機上發送短信
8、ABS材質防護箱,耐腐蝕、抗氧化,防水等級IP66
三、技術參數
1)采集器供電接口:GX-12-3P插頭,輸入電壓5V,帶RS232輸出Json數據格式,采集器供電:DC5V±0.5V峰值電流1A,
2)傳感器modbus、485接口:GX-12-4P插頭,輸出供電電壓12V/1A,設備配置接口:GX-12-4P插頭,輸入電壓5V
3)太陽能供電、配置鉛酸電池,可選配30W 20AH/50W 40AH/100W 100AH.充電控制器:150W,MPPT自動功率點跟蹤,效率提高20%
4)數據上傳間隔:1分鐘-1000分鐘可調
5)7寸安卓觸屏,屏幕尺寸:1024*600 RGB LCD
6)部分傳感器參數
名 稱 | 測量范圍 | 分 辨 率 | 準 確 度 |
環境溫度 | -40~+60℃ | 0.1℃ | ±0.3℃ |
相對濕度 | 0~100%RH | 0.1% | ±2% |
光照強度 | 0-200000Lux | 1Lux | ±2% |
大氣壓力 | 300~1100KPa | 0.1KPa | ±0.3hPa |
露點溫度 | -20~+50℃ | 0.1℃ | ±0.5℃ |
土壤溫度 | -50~+80℃ | 0.1℃ | ≤±0.2℃ |
土壤濕度 | 0~100% | 0.1% | ±2% |
土壤鹽分 | 0-20ms | ±0.1ms | ±2% |
土壤PH | 0-14 | 0.1 | ±0.2% |
風 向 | 0~360°(16方向) | 1/16 | <3°(>1.0m/s) |
風 速 | 0~70m/s | 0.1m/s | ±(0.3+0.03V)m/s |
雨 量 | ≦4mm/min | 0.01mm | ±0.2mm |
紫外輻射 | 0~70W/㎡ | 1W/㎡ | ±2% W/㎡ |
日照時數 | 0~24h | 0.1 h | ±2%h |
總輻射 | 0-2000W/m2 | 0.1W/m2 | 光譜范圍:300-3000nm |
光合有效輻射 | 400~700nm | 靈 敏 度:10~50μv/μmol·m-2·s-1 | |
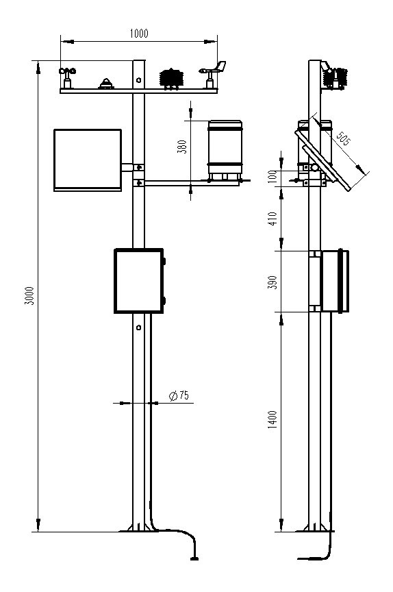
四、產品尺寸圖

五、產品結構圖
六、上位機軟件介紹
1、PC單機版數據接收、存儲、查看、分析軟件
2、支持串口數據接收、處理、展示
3、支持json字符串、modbus485等通信方式
4、可自設置存儲時間,modbus485采集模式下可自設置采集時間
5、支持自助增加、刪除、修改監測參數的協議、名稱、圖標等
6、支持數據后處理功能
7、支持外置運行javascript腳本
七、安卓APP介紹
1、安卓單機版數據接收、存儲、查看、分析軟件
2、支持藍牙數據接收
3、手機休眠后軟件后臺接收、處理
4、json數據自動添加設備,modbus設備支持掃碼添加設備
5、支持歷史數據查看、分析、導出表格,支持曲線展示、單數據點查看。
6、支持數據后處理功能
7、支持外置運行javascript腳本
八、云平臺介紹
1、CS架構軟件平臺,支持手機、PC瀏覽器直接觀測、無需額外安裝軟件。
2、支持多帳號、多設備登錄
3、支持實時數據展示與歷史數據展示儀表板
4、云服務器、云數據存儲,穩定可靠,易于擴展,負載均衡。
5、支持可短信報警及閾值設置
6、支持地圖顯示、查看設備信息。
7、支持數據曲線分析
8、支持數據導出表格形式
9、支持數據轉發,HJ-212協議,TCP轉發,http協議等。
10、支持數據后處理功能
11、支持外置運行javascript腳本
文章地址:http://www.guanlaoyeshui.com/zhnt/160.html
-
農田小氣候觀測站如何捕捉田間氣息?
2025-10-21 -
智能土壤墑情監測站系統如何還原立體墑情?
2025-10-21 -
蝗蟲實時監測預警站如何24小時盯防蝗群?
2025-10-21 -
苗情災情監控系統如何一眼看穿作物心事?
2025-10-20 -
探針式多點土壤水分監測系統,不挖土也能知旱澇?
2025-10-20 -
智能識別蟲情測報系統,不用顯微鏡也能數蟲子?
2025-10-20 -
新型全自動孢子捕捉儀,解碼空氣里的病害密碼
2025-10-17 -
蟲情自動監測燈,昆蟲的夜間派對:自動監測燈如何破解蟲害密碼?
2025-10-17 -
智能孢子捕捉分析儀為保護農作物而生
2023-10-17 -
農業四情監測站——農業可持續發展創新工具
2025-06-23 -
耕地質量自動監測站提高了生產自動化程度
2024-01-16 -
小型農用氣象站,有了它,種植氣象監測不再“盲人摸象”!
2025-07-15
